2e de couverture Hand Gestures to Signify What is Important – Google 2013 – Status active, expire 2032-03-19
3e de couverture Method and Apparatus for Yoga Class Imaging and Streaming – Yogaglo 2013 [Status : expired]
01 Transgenic Non-Human Mamals – Du Pont 1988
02-03 Nucleotide Sequences Derived from the Genome of Retroviruses of the HIV‑1, HIV‑2 and SIV Type, and their Uses in Particular for the Amplification of the Genomes of these Retroviruses and for the In Vitro Diagnosis of the Diseases Due to these Viruses – Institut Pasteur CNRS 2000
02-03 Nucleotide Sequences Derived from the Genome of Retroviruses of the HIV‑1, HIV‑2 and SIV Type, and their Uses in Particular for the Amplification of the Genomes of these Retroviruses and for the In Vitro Diagnosis of the Diseases Due to these Viruses – Institut Pasteur CNRS 2000
04-05 Methods for Transforming Plants to Express Bacillus Thuringiensis Delta‑Endotoxins – Monsanto 2002
04-05 Methods for Transforming Plants to Express Bacillus Thuringiensis Delta‑Endotoxins – Monsanto 2002
14 Voice Responsive Toy 1981 – Steven D. Hoyt 1981 [Status : expired]
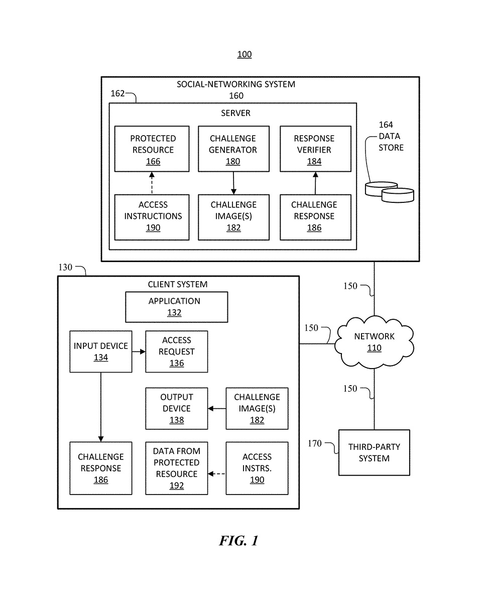
17, 21 Authorization and Authentication Based on an Individual’s Social Network – Facebook 2010
17, 21 Authorization and Authentication Based on an Individual’s Social Network – Facebook 2010
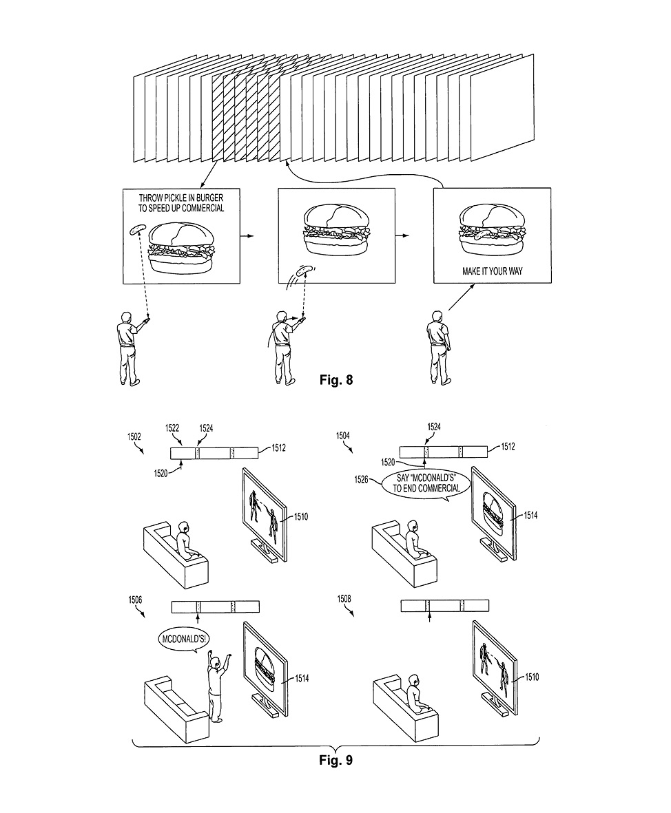
28-29 System for Converting Television Commercials into Interactive Networked Video Games – Sony Computer Entertainment America 2012
28-29 System for Converting Television Commercials into Interactive Networked Video Games – Sony Computer Entertainment America 2012
55 Coupling an Electronic Skin Tattoo to a Mobile Communication Device – Motorola Mobility 2012 / Assigned to Google Technology Holding in 2014 [Status : abandoned]
62 Agent Interfaces for Interactive Electronics that Support Social Cues – Google LLC 2015 [Status : abandoned]
71 Adhesive Vehicle Front End for Mitigation of Secondary Pedestrian Impact – Google LLC 2016
81 Correlating Media Consumption Data with User Profiles – Facebook 2017
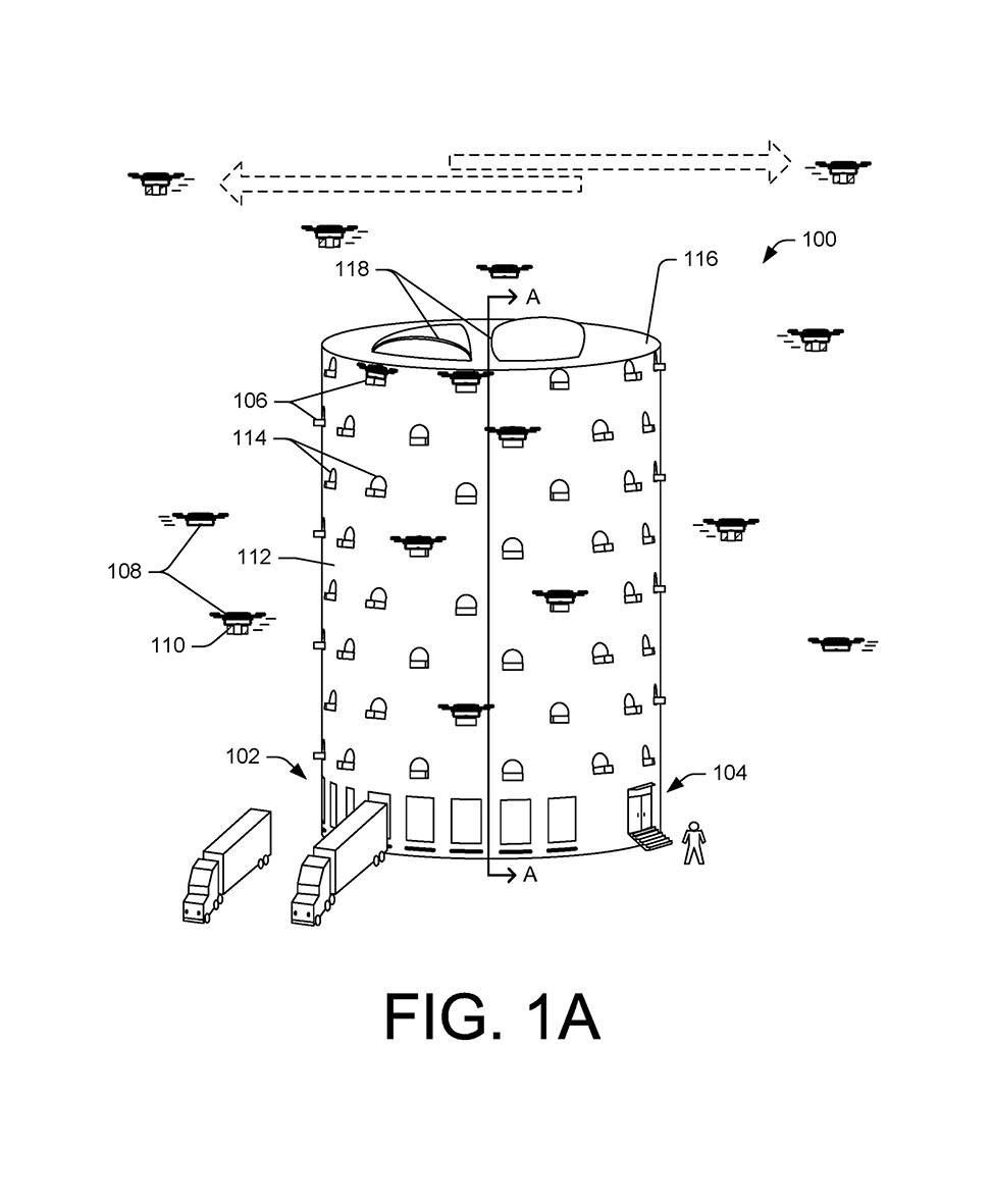
90 Event Forecasting System – Predpol Inc. 2017
100 Computer-Vision Content Detection for Sponsored Stories – Facebook 2019
107 Multiple Classifications of Audio Data – Amazon Technologies Inc. 2021
121 Methods for Providing Information about a Person Based on Facial Recognition – Clearview AI Inc. 2021
Collectif d’artistes (1999) qui mène des enquêtes extra-disciplinaires sur le fonctionnement de systèmes complexes et opaques : les krachs du trading algorithmique, les circuits financiers offshore, la pseudo-IA, la colonisation du vivant par la propriété industrielle, et tous les angles morts des mythologies techno-libertariennes. Il en ressort des œuvres documentaires (cabinets de curiosités, archives labyrinthiques) et des dispositifs performatifs activés dans les milieux techniques qui les ont inspirés. http://rybn.org